MATSUBO 연속식 발포기(포밍 머신)
페이지 정보

본문
연속식 발포기(포밍 머신)
제조:대평양기공 주식회사 / 일본
연속 발포기 포밍 머신은 액체 중에 가스를 균일하게 혼합 분산시킬 수 있는 믹싱 장치입니다. 식품이나 수지 등의 화학 제품 원료를 연속적으로 발포시키는 것을 자랑으로 하고, 원료 공급량, 회전수, 기체 공급량, 내부 압력을 제어함으로써 희망의 세밀함을 가진 발포 제품을 안정적으로 생산할 수 있습니다.
제품 특징
연속 발포기는 성형에 필요한 구성 요소가 장치에 통합되어 안정적인 생산을 지속적으로 수행하도록 설계되었습니다.
장치는 원료를 공급하는 정량 펌프, 발포하는 믹서 몸, 기체 공급 및 가동 가동하는 조작반으로 구성됩니다.
믹서에는 다수의 분산 치아를 가진 특수 설계의 믹싱 헤드가 있으며, 이것이 고속 회전하면서 원료와 함께 공급되는 기체를 균일하게 혼합합니다. 원료는 정량 펌프로 혼합실로 보내집니다. 원료가 믹싱실에 들어가기 직전에, 발포에 사용하는 기체가 원료에 보내져, 직후에 발포 처리됩니다. 믹싱실은 재킷 구조로 되어 있어 냉각수를 흘려 제품 온도의 상승을 억제할 수 있습니다. 이를 통해 식품에서 높은 오버런 값을 얻을 수 있습니다.
연속 운전시에는 품질의 안정성이 특히 중요합니다. 이하의 조정을 하는 것으로 고객희망의 발포 정도를 실현합니다.
・원료 공급량
・가스 공급량
・믹싱실의 압력
・믹싱 헤드 회전수
・재킷 온도
연속식 발포기는 발포성과 조작성 향상을 위한 다양한 기구를 갖추고 있습니다.
◆ 위생성을 중시한 일체 가공의 믹싱 헤드
일체 가공 때문에 위생성이 매우 우수합니다. 일반적인 핀 타입과 달리
원심력의 가장 강한 바깥쪽에 분산치를 배치하여 높은 전단력을 주는 구조입니다.
◆ 믹싱 효과를 높이기 위해 믹싱실을 가압
위생성을 배려한 다이어프램의 배압 밸브를 갖추고 있습니다. 다이어프램 밸브의
개도를 조정하여 믹싱실 내부를 가압합니다.
◆ 제품의 품온을 조절할 수 있는 재킷 구조
믹싱실의 주위는 재킷 구조로 되어 있어, 칠러수를 흘리는 것으로
냉각하면서 발포 처리를 할 수 있습니다.
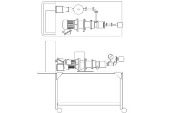
◆ 장소를 차지하지 않는 컴팩트한 구상
MDF0의 유닛 전체상
소형의 모델에서는 일체 유닛화하는 것이 가능합니다.
◆◆◆ 소형 모델로 테스트 기계의 준비가 있습니다. ◆◆◆
메이커 시험장에서 원료를 사용한 테스트를 할 수 있으므로, 꼭 문의해 주세요.
제품 적용 예
화학 : 고분자 수지의 발포 (PVC, 폴리 에스테르, 우레탄 등)
기타 원료에 기체를 균일하게 분산시키는 기액 혼합 공정
제품 사양
| 형식 | 기준 처리량 |
| MDF-0 | 120L/h |
| MDF-1 | 400L/h |
| MDF-2 | 1,400L/h |
| MDF-3 | 2,000L/h |
| MDF-4 | 7,000L/h |
- 이전글진공 탈포 장치: UCD 데어 마일드 23.01.13
- 다음글자석 구동 교반기 NK형/NKD형 23.01.13

